



讓中醫診所管理不再是難事
Managing TCM Clinic Easily
- 服務
- …
- 服務



讓中醫診所管理不再是難事
Managing TCM Clinic Easily
- 服務
- …
- 服務

星科中醫雲電子病歷管理系統
核心功能
(包括專業版、診所版、集團版)
1) 預約及客戶登記服務管理
- QR Code 掃碼自動登記
- 老客戶手機掛號
- 前台預約日曆
2) 零售及套票管理
- 零售收款/印收據
- 產品代碼登記
- 購買服務套票
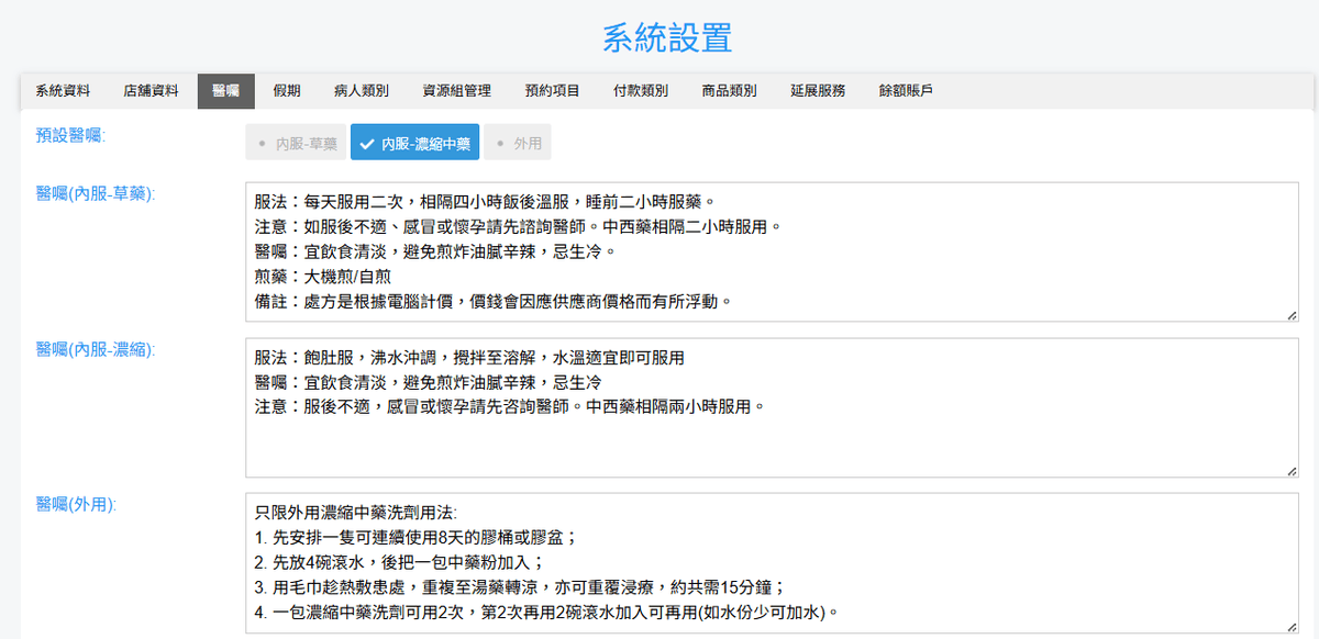
3) 處方及醫囑管理
- 診所經驗方管理
- 醫師經驗方管理
- 診所醫囑管理
- 醫師個性化醫囑管理
- 病人處方/護士處方(轉化濃縮中藥比例)
4) 到診證明書及病假紙管理
- 病假紙
- 到診證明書
- 醫療報告
- 推薦信
5) 配藥房管理
- 藥物位置碼設置
- 配藥流程管理 (*掃碼/稱重, 需配合指定設備)
- 重配藥管理
- 智能藥物提示燈 (*需配合指定設備)
- 打印處方
- 配藥完成/取藥流程管理
6) 收費及收據管理
- 零售結帳 (Walk-in客人)
- 醫療服務發票 (有醫師診斷可以給保險司報銷)
- 分單控制列印收據 (如果客戶選擇分單,系統將禁止客戶出重複收據)
- 收費項目管理
- 客戶類別折扣管理
7) 採購及庫存管理
- 供應商管理
- 採購訂單管理
- 收貨單管理
- 盤點對沖單管理
- 出庫/入庫單管理
- 盤點報表
- 領料單 (配方表加工單)
- 雙人申請及審批機制管理庫存更新
9) 日結及財務管理
- 日結報表 (每店)
- 下載每日收費詳細記錄
- 銷售報表
- 採購報表
- 醫療劵報表
- 成本分析報表
- 佣金管理報表
- 套票管理報表
- 費用管理報表
在此處新增文本段落。在此處新增文本段落。
在此處新增文本段落。
病人檔案管理
管理所有病人的個人資料,病史及長期疾病等。新病人可填寫自助登記表格,減省助理輸入資料人手。
預約掛號管理
預約是診所一項重要服務,如何高效,精準地管理好客戶預約是每一間診所運營水平的標誌。
病歷管理
記錄病人的主訴及診斷等,可隨時查閱過往病歷記錄、列印醫生證明書、上傳圖片及檔案至病歷。
處方管理
記錄處方藥物份量、劑數及醫囑,查閱及調用過往處方,調用固有複方及經驗方。濃縮藥物可自動轉換比例,支援一次診療開出多張處方。醫師完成處方後配藥房接收處方內容,提供標準化處方紙列印格式。
治療記錄管理
記錄治療項目及次數,記錄治療部位。可配合骨架圖庫及針灸穴位圖記錄治療位置及穴位。
診療及零售結賬管理
建立收費賬單,支持多種收費方式及折扣。診療賬單可自動生成藥費及治療費,零售賬單獨立管理零售收費。
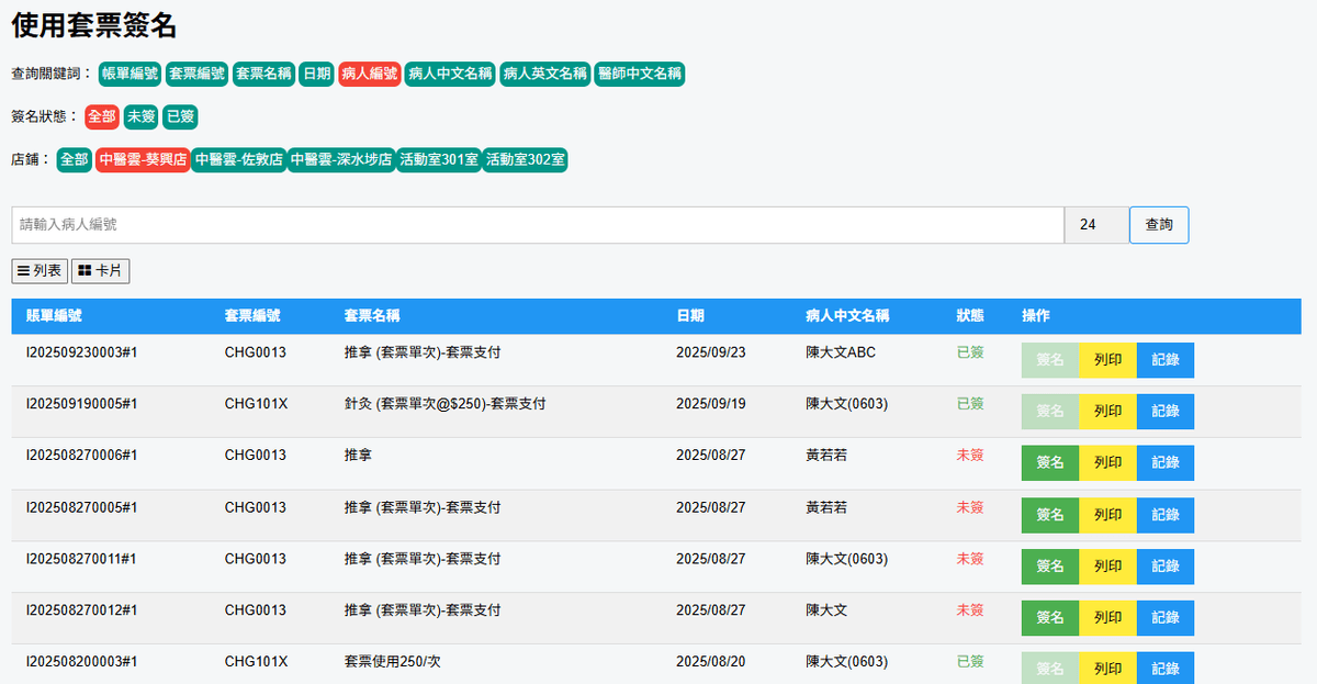
預付套票管理
管理套票預付,可查閱套票使用記錄、套票餘額及到期日。
藥物及產品庫存管理
提供各大藥廠的藥物清單,可管理藥庫設置。管理藥物及產品庫存,包括採購、收貨、庫存調整及盤點對沖等。
各類報表及數據統計
提供日結及月結報表、處方成本、病假紙列印記錄、套票記錄報表等報表,及客戶年齡層統計、醫師門診統計、客戶來源統計等統計。
脈診儀檢測紀錄對接
記錄病人所有過往的脈診儀檢測紀錄,可隨時查閱。
增值功能
(包括診所版、集團版)
8) 醫師/治療師排班及請假管理
- 不同診所開診時間設置
- 醫師/治療師在每間店應診時間表設置(每週循環)
- 醫師/治療師請假管理
- 醫師/治療師預約服務授權管理
- 醫師/治療師店鋪授權管理
二維碼自助登記預約系統 (診所版)
病人掃二維碼上網自助登記預約,可減輕診所職員處理預約的工作量,診所職員只需再跟病人確認一下預約服務及時間。
病人類別折扣管理
個別收費項目可以根據病人類別設置不同折扣
職員佣金管理
個別收費項目或組別可以設置不同提成比例
多醫師排班管理
可為不同醫師管理排班及病人預約
KPAY電子支付對接 (需申請KPAY帳戶)
KPAY POS機用戶可對接診所系統支付賬單,需要額外付對接費用1 個 man-day 起。
對接代煎中心 (需申請代煎中心帳戶)
透過對接代煎中心配送藥物,實現雲藥房服務,需要額外付對接費 1 個 man-day 起。
代煎中心合作伙伴為 阜康智能化煎藥中心,致⼒於提供⾼效、安全的煎藥服務,採⽤全⾃動化系統,並通過ISO 22000和HACCP認證,確保每⼀個煎藥流程均符合國際安全標準,保護患者的健康。
中藥材來⾃嚴格挑選的供應鏈,保證道地性及無硫處理,並具備可追溯性。這不僅保護了消費者的健康,也提升了藥材的療效和安全性。
Whatsapp 及 SMS 客戶通訊服務
透過WhatsApp 及 SMS 發出信息至病人電話號碼。管理及備份診所 WhatsApp 對話及 SMS 信息。支援一次發送多個信息至病人。可發送每日定時通知,提醒已預約病人準時應診;套票到期提醒;宣傳及優惠信息;新客戶歡迎信息等。
遙距診症管理
配合 Zoom 會議功能,完善遙距診症流程符合中醫管理委員會對遙距醫療的指引,可配合 WhatsApp 通訊及對接配藥房 / 代煎中心使用。
星科中醫雲電子病歷管理系統 - 增值功能
(包括集團版)
自助登記預約系統
病人網上自助登記注冊新用戶, 新增, 取消, 改期預約及查閱消費記錄等,可減輕診所職員處理預約的工作量。透過管理醫師及治療師的排班及假期,設定開放預約的時間。
藥物批次管理
記錄及追蹤藥物進出及處方批次,列印藥物批次交易報表,到期藥物限制配藥及銷毀藥物。
套票簽名管理
可以為已購及已使用的套票給客戶在診所系統上簽署及列印
物資管理
物資管理包括兩大功能,藥物消耗由中央倉庫集中處理物資採購及配送流程
保險管理
自定義會員折扣管理
用戶自行定義各類會員,再安排個別收費項目根據類別設置不同會員折扣及折扣有效期限限。
會計管理
設置所需會計科目及傳票,管理應收及應付帳目,生成會計財務報表。
AI系統對接 - 脈診、舌診、問診
(需額外付費)
透過對接AI系統對接診所系統進行脈診、舌診及問診,讓AI提供治療方案給醫師參考,提升診症效率。